| 硬齿面圆柱齿轮减速机 | |
| 没有小类 | |
| 中硬齿面圆柱齿轮减速机 | |
| 没有小类 | |
| 软齿面圆柱齿轮减速机 | |
| 没有小类 | |
| 行星齿轮减速机 | |
| 没有小类 | |
| 三合一齿轮减速机 | |
| 没有小类 | |
| 星轮减速机 | |
| 没有小类 | |
| 摆线针轮减速机 | |
| 没有小类 | |
| 轴装式减速机 | |
| 没有小类 | |
| TZ系列立式粮油机械用减速机 | |
| 没有小类 | |
| 电动滚筒系列 | |
| 没有小类 | |
| 蜗轮蜗杆减速机系列 | |
| 没有小类 | |
| WP系列蜗轮减速机 | |
| 没有小类 | |
| 平面包络环面蜗杆减速机 | |
| 没有小类 | |
| 平面二次包络环面蜗杆减速机 | |
| 没有小类 | |
| K.S.R.F斜齿轮减速器 | |
| 没有小类 | |
| 三环减速机系列 | |
| 没有小类 | |
| 特殊齿轮减速机 | |
| 没有小类 | |
| 棘轮棘爪硬齿面减速机 | |
| 没有小类 | |
| 重载型减速机 | |
| 没有小类 | |
| 其他系列减速机 | |
| 没有小类 | |
| 机架系列 | |
| 没有小类 | |
| 三相异步电动机 | |
| 没有小类 | |
| SSX弧齿锥齿轮行星减速器 | |
| 没有小类 | |
| 立式化工搅拌设备 | |
| 没有小类 | |
邮编:225400
手机:18352636881
电话:0523-87666733
电话:0523-87666455
传真:0523-87666977
邮箱:2718548046@qq.com
网址:http://tailongjsj.top
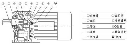
产品用途: 一、产品特点: 1、全封闭全寿命机电一体化设计 2、硬齿面斜齿传动,低噪声、高效率 3、整体结构紧凑、重量轻、适应性强 4、可附加电磁制动器 二、型号标记: 注:箱体材料:L—铝合金、H—铸铁 安装型式:W—底脚式、F—法兰式 标志示例: A GHWZ40-50 双轴铸铁箱体卧式,40机型号,减速比50 B GLF28-550-50 立式名合金箱体、28机型号、直联专用电机55W,减速比50。 C GLW28K-80B85-30 卧式铝合金箱体,28机型号,输入端IEC标准电机法兰80B5,减速比30 三、结构图例: G系列封闭式齿轮减速机技术参数
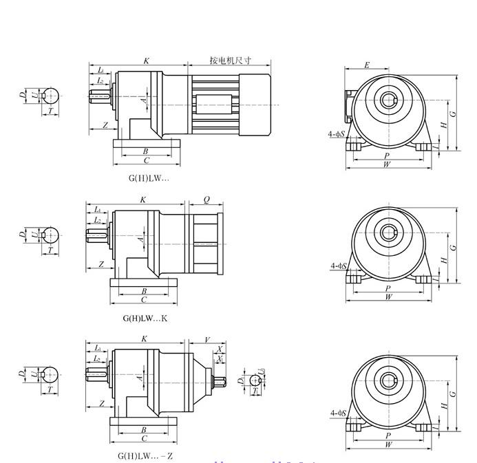
法兰式外形安装尺寸
G系列全封闭齿轮减速机



上一篇:ZLYJ系列塑料挤出机齿轮箱
下一篇:SPJ-800型矿用减速机

